市民陈先生向记者反映
从租车公司租车跑“网约车”
钱没赚到,还要倒贴
车子也被扣了
该如何是好?

司机:网约车开了两个月,
倒贴6000多元
今年2月份,陈先生向宁波超途出行科技有限公司租赁了一辆新能源汽车用于跑网约车,押金6000元,月租金4000元。

陈先生告诉记者:“租车公司说一个月能跑10000多元,这样刨去租金等成本,收入还是很可观的。”
就是这样一句“收入很可观”,让急于赚钱的陈先生并未细看合同规则就盲目签了约,成了一名网约车司机。但是车还没开两个月,他就傻眼了,因为未取得网络预约出租车驾驶员从业资格证,陈先生两次被鄞州区交通运输局查处,第二次被查时,他的车辆还被扣押,需缴纳2000元罚款。

当问及为什么第一次被查处时不及时停止无证开网约车的行为,陈先生坦言:“如果退车,要付违约金。第一次罚款的200,公司说给报销了,所以就抱着侥幸心理开下去了。”

直到第二次被查处,公司让陈先生自己想办法取车交罚款,陈先生觉得自己根本无力承担。而且开车的这两个月,因为出过事故,根据合同规定,陈先生需要承担车辆折旧费、保险上浮费等合计6000多元,这样一来,没赚到钱不说,他还一直往里贴钱。

那为什么没有网络预约出租车驾驶员从业资格证,却还能在网约车平台注册成功呢?陈先生表示:“所有的审批流程都是租车公司代为办理的。他们说没问题,可以开,我就开了。”
租赁公司:
我们只提供租车
根据陈先生提供的信息,记者联系上了宁波超途出行科技有限公司的法人代表刘先生,刘先生回应:“这个行业就是这样的!”他进一步解释说:“我们公司只负责提供汽车租赁,至于客户如何使用这些车辆,我们是无权干涉的。”
然而,记者随后发现,在宁波超途出行科技有限公司的网上宣传和门店图片中,却是将招聘网约车司机作为其主要业务之一在进行大力宣传,并非负责人刘先生所说的只提供汽车租赁。

而且,在招聘广告的职位要求中,记者也并未看到公司明确提及应聘者需持有网络预约出租车驾驶员从业资格证。

几经沟通,目前陈先生表示正和租车公司协商解决此事。
律师建议
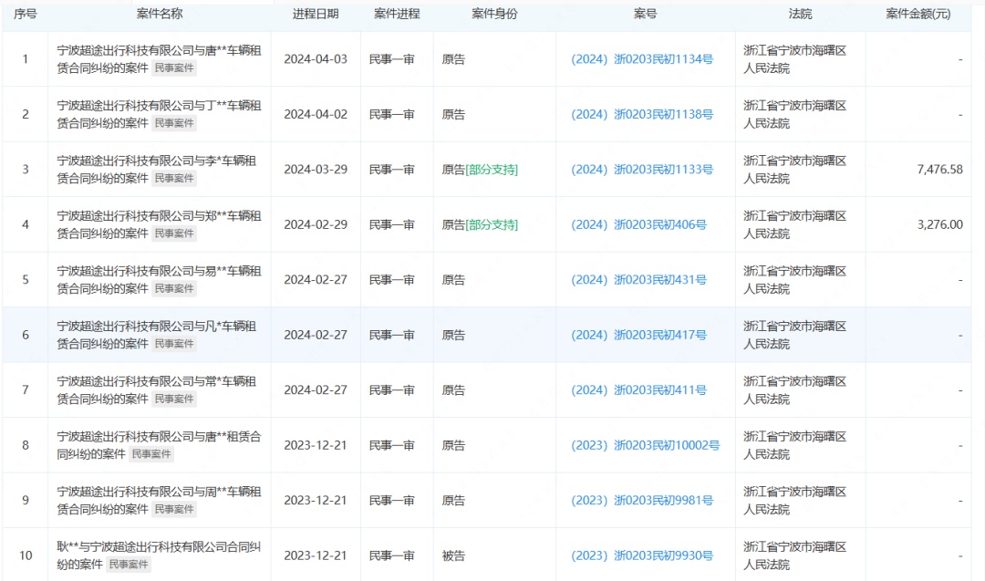
浙江六和(宁波)律师事务所应健律师表示,查询企查查上的公开信息上不难发现,该租车公司半年内有十起关于合同纠纷的诉讼,推测可能利用优势合同地位频繁诉讼以获取利益。

企查查上的信息截图
对此,应律师建议,广大司机朋友在选择租车公司时,务必做好前期的考察工作,详细了解租车公司的实际情况,尤其要关注公司的实力和信誉。
最重要的是,对于租车公司的各项承诺、口头保证等内容,一定要写到书面合同中留痕,以充分保障自身权益。
媒体说
当下,网约车已成为灵活就业的重要组成部分之一,有不少人选择租车来跑网约车。但随着大量新手网约车司机入行,对车辆的需求量也开始拉升,一场针对准司机们的“杀猪盘”,已开猎多时。有的司机租车却被骗背贷;有的租赁到期,车辆的所有权该过户的时候,租赁公司却早已跑路……
显然,类似违法或是打法律擦边球的行为,都是瞄准新手希望以低成本加入网约车行业的心理实施的精准“收割”。在当前网约车司机数量进一步增加的大背景下,对这类“杀猪盘”,从相关平台到监管部门,理应给出更有力的规制。
应该看到,网约车租车租赁期长,不确定性因素多,司机和租赁公司处于巨大的信息不对称之下。如果没有明确的行业准入门槛,将放大道德和法律风险,让浑水摸鱼者乘虚而入,成为很多家庭的“陷阱”。所以,如果说随着市场规模的扩大,部分网约车平台难免会疏于把关,那么,监管部门强化对网约车租赁市场的规范,则应该成为硬性行动。
记者:林玲
点击右上角
微信好友
朋友圈

点击浏览器下方“
”分享微信好友Safari浏览器请点击“
”按钮

点击右上角
QQ

点击浏览器下方“
”分享QQ好友Safari浏览器请点击“
”按钮
