据媒体报道,阜阳野生动物园在未取得人工繁殖许可证的情况下,违法展示展演、人工繁殖东北虎。同时其因为动物园经营权纠纷的影响,导致大量野生动物死亡。
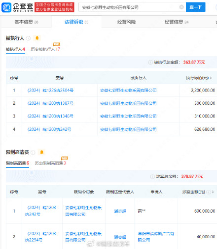
企查查APP显示,阜阳野生动物园关联公司安徽七彩野生动物乐园有限公司成立于2018年2月,法定代表人为潘志超,注册资本6000万人民币,经营范围包括动物园经营、野生动物科研咨询等,由阜阳市紫青农业科技股份有限公司全资持股。风险信息显示,该公司现存多条被执行人、限制消费令及股权冻结信息,此外还多次因拖欠工程款和展演费被阜阳市颍东区人民法院列为失信被执行人(老赖),涉案总额超346万元。



点击右上角
微信好友
朋友圈

点击浏览器下方“
”分享微信好友Safari浏览器请点击“
”按钮

点击右上角
QQ

点击浏览器下方“
”分享QQ好友Safari浏览器请点击“
”按钮
