近日,总台中国之声报道了山西省大同市阳高县在落实“市场主体倍增”计划过程中,存在严重造假现象,甚至有村支书名下办理了20张营业执照。报道播出后,阳高县委和县政府组织行政审批、市场监管等部门开展联合调查。经初步核查,阳高县在工作中确实存在造假情况。
大同市阳高县的基层工作人员表示,从2022年开始,当地几乎每个月都有新增市场主体数量的考核,乡镇领了任务分配到村里,村支书只能找亲朋好友完成登记注册,甚至把多个经营主体都注册在了自己名下。“本来注册是自然人的自愿行为,但是注册量少,要完成市场主体倍增的数量任务,于是给乡镇、街道摊派任务。比如,这个月必须完成多少工商营业执照的办理注册、合作社必须办理多少个、公司必须办理多少个,每个月都有任务。乡镇没办法,只能给村里摊派,于是村支书找人注册没有任何营运实体的执照。这个月办完,下个月任务又来了。每个月都要通报,完不成的还要批评。”
记者查询到,阳高县一位村支书名下注册了23家市场主体,只有3家是2022年前实际运营的合作社,其余20家有个体工商户、有合作社还有公司,涉及鞋店、服装店、水果店、货运队、养殖厂、水产店、鲜花店、建材厂,便利店有两家,还有家美甲店。
报道播出后,阳高县回应称:县委和县政府推进市场主体培育工作落实不到位,重安排部署、轻管理指导,对一些干部“工作方法简单粗放,把市场主体培育发展简单理解为注册即培育、入库即发展”等误读曲解、执行偏差的问题,发现不及时、纠偏不够。
阳高县委宣传部部长杨小民表示:“阳高县委和县政府高度重视,第一时间组织行政审批、市场监管、统计、纪检、宣传等部门开展联合调查。经初步核查,我县在推进市场主体培育工作中确实存在造假情况,对此特别感谢对我县工作的关注和监督,对推进市场主体培育工作在具体执行层面上出现的问题,我们深感自责,诚恳接受,积极改正。”
杨小民告诉记者,全县将以此为戒,在各领域组织开展警示教育,举一反三,进行规范整治,坚决杜绝此类问题再次发生。
杨小民表示:“为此,我们在全县范围内立即开展市场主体‘大起底’,对排查出的非正常市场主体依法公示注销,并坚持实事求是的原则,研究制定规范培育市场主体的政策措施,激发市场主体发展的内生活力。同时对市场主体培育工作中出现弄虚作假的现象继续深入调查,我们将以此次新闻媒体监督为契机,切实规范市场主体培育工作,持续优化营商环境,推动经济社会高质量发展。”
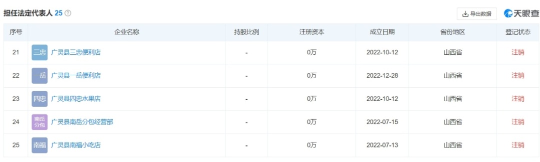
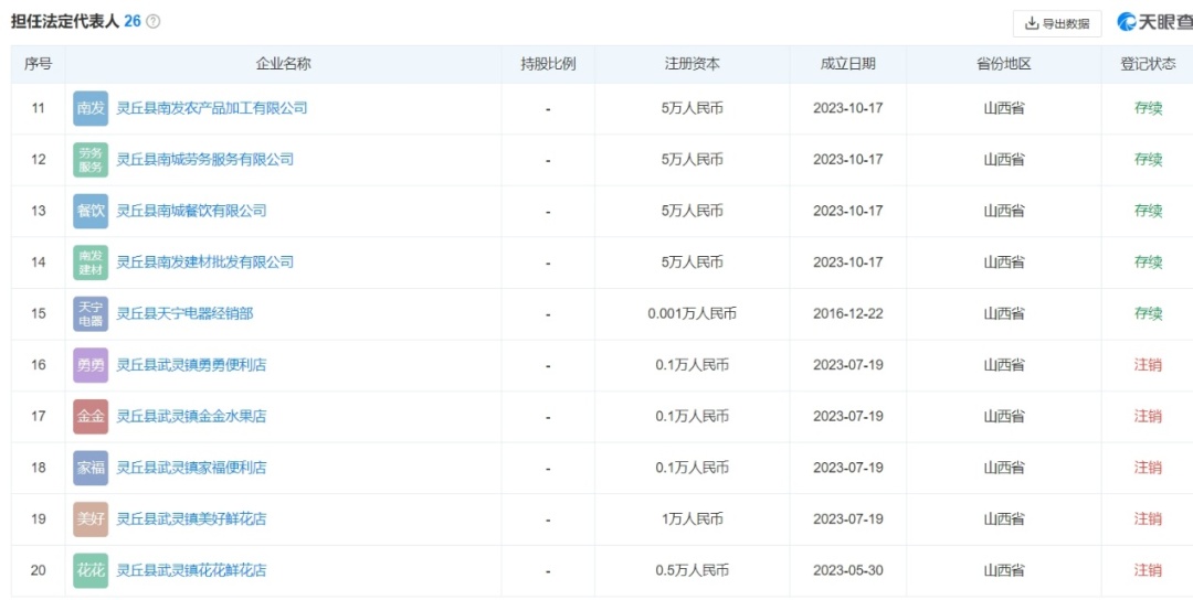
实际上,除了阳高县之外,记者通过天眼查查询大同市其他县区的市场主体注册信息时也发现了一些异常情况。有人从2022年7月开始,在同一地址注册了25家市场主体,其中有12家便利店;有人在同一天、同一地址注册了14家有限公司,涉及土特产、工艺品、电子商务、家政等行业;143家市场主体使用同一个手机号注册,注册时间集中在2022年5月6日至2023年5月16日等。这些市场主体都在实际经营吗?



2022年后注册25家市场主体,其中有12家是便利店



1号至14号企业为2023年10月17日一天注册,2022年后,注册了24家市场主体,名下26家中,只有2家是此前注册的

143家市场主体由同一手机号注册
我们愿意看到老百姓通过办企业做生意真正富起来,也希望地方政府顺应时势,通过优化行政审批服务,完善财税金融服务,维护市场公平竞争,让市场真正繁荣起来。
综合:中央广播电视总台中国之声(记者任梦岩)、央广网
点击右上角
微信好友
朋友圈

点击浏览器下方“
”分享微信好友Safari浏览器请点击“
”按钮

点击右上角
QQ

点击浏览器下方“
”分享QQ好友Safari浏览器请点击“
”按钮
