本月初,猫眼APP宣布,张学友60+巡回演唱会东莞站确定于6月6日至6月8日,在广东东莞银行篮球中心连开三场。因为演唱会有两天时间正好与2025年高考时间“重合”,附近又是东莞市第六高级中学考点,因此遭到当地一些市民的投诉,希望演唱会进行延期。5月22日,东莞市多个部门针对此事进行了回应。
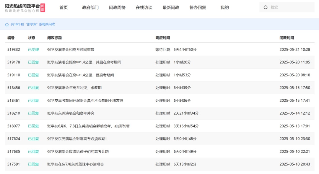
在东莞市有关部门主办的“阳光热线问政平台”,记者发现,已有十多名网友进行反映,希望张学友演唱会能够改期。一名网友在反映帖子中称,演唱会场馆和高考考点东莞市第六高级中学距离只有2公里。即使政府承诺做好了万全的措施和预案,作为高考的家长,我们仍有诸多顾虑,哪怕只有万分之一的可能对高考产生影响。
针对上述反映帖子,东莞市文化广电旅游体育局进行了回复。回复称:
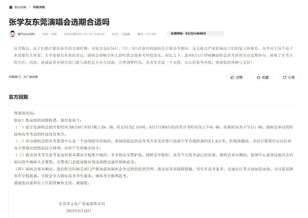
(一)张学友演唱会的开始时间为6月6日至8日晚上7:30,时长约为2.5小时。6月7日和8日的高考开考时间为上午9:00,结束时间为下午5:00。演唱会举办的时段和高考考试的时段没有重合。
(二)举办演唱会的东莞篮球中心是一个封闭的室内场馆,离场馆最近的高考考点东莞市第六高级中学直线距离约有1.6公里。经现场测试,并结合篮球中心以往举办大型演出的情况综合研判,对外产生的噪音较小。
(三)我市高考考生赴考及返回基本都由学校集中组织,并全程由交警护送。演唱会开始时,高考当天的考试已经结束。演唱会举办期间,篮球中心及周边地区会有相应的车辆和人员聚集,交警部门会提前做好周边道路交通管制和疏导。
(四)演唱会举办期间,我们将会同相关部门严格加强对演唱会全过程的监督管理,落实好各项保障措施。考生在高考备考、交通出行等方面如需协助,可以提前跟所在学校联系,学校会全力做好高考考生服务,确保考生顺利赴考。
东莞市文化广电旅游体育局的回复 网站截图
5月22日,东莞市招生办公室的工作人员表示,市里对此很重视,召集相关部门已开过多次专门会议,也做了一些相对应的保障措施,确保不对考生产生影响。该名工作人员还称,但经过现场测试,演唱会地点和考点直线距离约有1.6公里,现场噪音也很小,不会影响到该考点。
记者以家长身份联系了东莞市政府办,该办人员建议记者联系东莞市文化广电旅游体育局、东莞市教育局或拨打东莞市12345政务服务便民热线进行反映。
有网友认为应该改期也有网友认为不会有影响
东莞市12345政务服务便民热线工作人员表示,已接到多名市民反映张学友东莞演唱会时间的问题,经有关部门核实,演唱会的时间和高考考试时间段上没有重合,对考生没有影响。目前,他们暂时没有接到演唱会延期的消息。
综合:纵览新闻
来源: 大江网



