太突然!
福建首家通用机场
位于福州闽侯的
竹岐直升机场
将于下月拍卖
福州竹岐直升机场上架法拍
起拍价约1.2亿
近日,据阿里资产平台消息,福州市中级人民法院,将于2024年10月30日,对福州市闽侯县竹岐乡榕西村榕西399号土地使用权及地上建筑物进行拍卖,起拍价约1.2亿。
据地址,该标的即为福州竹岐直升机场。公告显示,标的产权人为福建正阳投资有限公司,标的物包括航站楼、塔台、连廊、新建机库、特种车库、储物间、门卫、人防工程、变电所、新建岗亭房产及土地使用权。
其中,土地使用权约10.9万平方米(约163.49亩),性质为商服用地,土地使用权期限终止日期至2051年8月24日止;建筑面积合计12646.38平方米。
截至2022年12月30日,该标的评估价约1.71亿元。目前一拍起拍价约为1.19亿元,相当于打7折。保证金为1100万元,增价幅度为5万元。
标的资产已被查封
由案外人占有使用
据公告,该标的目前已被查封。公告特别提醒,标的物现由案外人占有使用,成交后由本院协调交付等事宜。
公告称,评估报告中的航站楼地下一层备注为非抵押物系评估公司的理解。作为整体建筑,在国有土地使用权及地上建筑物抵押时,依“房随地走”的基本原则,地下一层应属抵押物范围。
标的物可能涉及的租赁、标的物占用与移交等方面的纠纷,在参加竞买前自行充分了解或向本院咨询,并通过合法途径解决。
福建正阳投资列为被执行人
拍卖涉案金额3995万元
据企查查平台显示,福建正阳投资有限公司成立于2009年6月11日,注册资本2亿元人民币,注册地址即为本次拍卖标的福建省福州市闽侯县竹岐乡榕西村榕西399号。经营范围包括对机场建设的投资;房地产投资、开发、经营等。
股权结构图显示,福建正阳投资有限公司股东分别为中民正阳通用航空机场投资有限公司和上海正旺投资管理有限公司,二者分别持有95%和5%的股权。
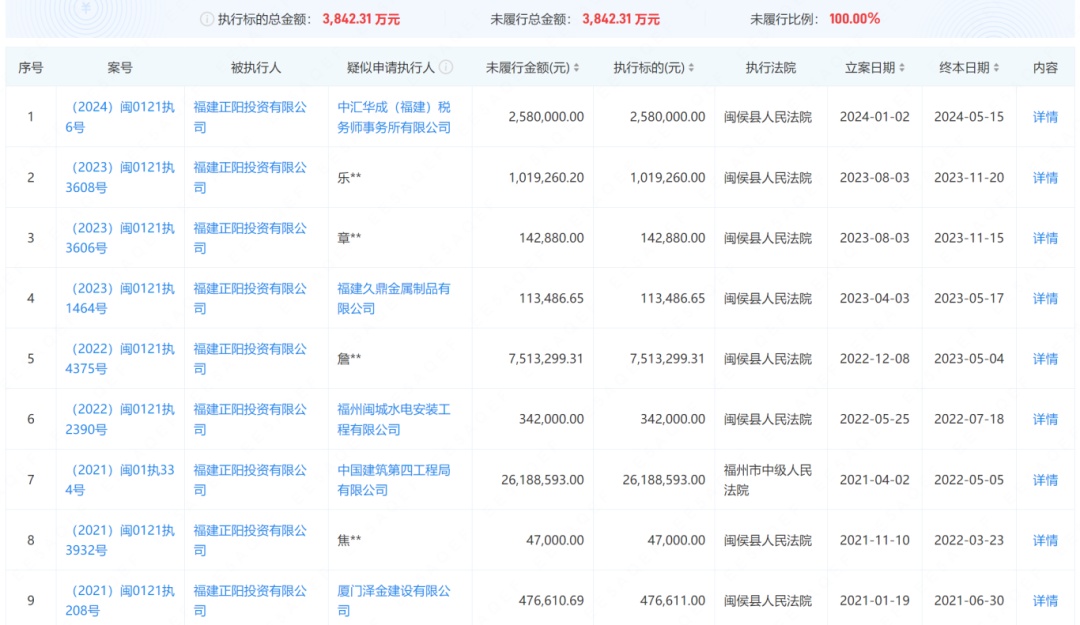
目前,福建正阳投资有限公司已被列为被执行人,并被限制高消费。
公开信息显示,该公司2021年起多次被法院列为被执行人。目前有9个终本案件,执行标的总金额3842.31万元,未履行比例100%。
据拍卖公告中公布的执行案号,本次拍卖涉及执行案件于2024年8月23日立案,执行标的约3995万元。除福建正阳投资外,股东上海正阳投资集团有限公司、中民正阳通用航空机场投资有限公司等同为被执行人。
福州竹岐机场建成超10年
为福建首家通用机场
据公开资料,福州竹岐直升机场由上海正阳投资集团有限公司全资投资建设,是福建省首家通用机场,也是华东地区通用航空的标杆机场。
机场项目为一期,用地约157亩,总投资2亿。建设内容包括跑道、停机坪、航站楼、塔台、气象观测场、机库以及助航灯光等设施。飞行区设有200m*40m的跑道,7个停机位。
项目二期占地159亩,规划建设航空产业配套基地,包括通航企业总部、应急救援指挥中心、救援物质筹备、员工公寓、高端会所等配套。
2013年5月21日,竹岐机场获得民航华东地区管理局颁发的机场使用许可证,现委托正阳通用航空机场投资有限公司福州分公司进行运行管理。
机场提供空中游览,停机坪的代报、代建、代管等航空性业务,也提供婚纱摄影写真,科普教育,无人机驾驶培训等非航空性业务。
在机场旁,即是正阳集团开发的别墅社区正阳田园外。项目占地面积约9.68万㎡,因具有直升机场配套、大量赠送面积等,曾是创福州涨幅最大的楼盘之一。
综合:海峡网、阿里资产平台、福州竹岐直升机场公众号、福州房产、企查查等
来源: fm1007福建交通广播













